泽平粉刺立消净敏感型好吗?(华伊美破产清算 3项专利1元起拍卖)

泽平粉刺立消净敏感型好吗?(华伊美破产清算 3项专利1元起拍卖)

却溪蓝 2025-10-14 国内要闻 6 次浏览 0个评论

三十年河东,三十年河西。任谁也没有想到,当年鼎鼎大名的泽平药妆母公司上海华伊美化妆品有限公司(以下简称“华伊美”)会破产清算。

华伊美破产清算 3项专利1元起拍卖

企查查数据显示,华伊美新增多个司法拍卖。其中,1项作品著作权、21项注册商标和3项专利都是1元起拍,奔驰E级小型汽车一辆(沪L99792不含客车额度)6.75万起拍,东风风行小型普通客车一辆(沪A38H89不含客车额度)2.96万起拍。

华伊美破产清算 3项专利1元起拍卖

华伊美破产清算 3项专利1元起拍卖

查询发现,2023年11月27日,上海市第三中级人民法院根据叶加莉(曾用名叶金莲)的申请,裁定受理华伊美破产清算一案,并依法对本案适用简化审程序。

明星单品曾销售过亿

企查查信息显示,华伊美成立于2003年1月10日,注册资本3600万元,先后投资了上海顶间播商网络科技有限公司(持股70%)、上海顶间电子商务有限公司(持股70%)、上海易恒伊美生物科技有限公司(持股49%,已注销)。华伊美是安徽华伊美科技(集团)有限公司的全资子公司(以下简称华伊美集团)。

华伊美破产清算 3项专利1元起拍卖

华伊美集团成立于2000年10月18日,注册资本4000万元,其前身为制药公司成立于1992年,是中国谙熟中医药、精通化妆品,懂医、懂药又懂妆的著名科技型企业,研发团队遍布中国上海、合肥、澳大利亚两国三地,拥有专家、教授、博士、硕士等近50名研发人员,是一家集科研、生产、销售和美容服务为一体的技术企业集团。华伊美集团旗下的企业主要为:安徽泽平疗肤堂品牌连锁管理有限公司、上海华伊美化妆品有限公司、安徽省华伊美美容保健品有限公司(已注销)。

有媒体报道,华伊美旗下拥有包括泽平、显臣、华伊美、EIEVI(伊微)、塔期曼等多个品牌。其中,被社会大众所熟知的泽平,擅长使用中医药经典文化组方用于护肤产品,在祛痘、祛斑、美白、敏感修复、抗衰等功效问题肌治疗方法独树一帜,是叱咤中国祛痘品类市场20多年的功效国妆品牌。泽平主推产品“泽平粉刺立消净”系列曾创下销售额过亿的纪录,并荣获“国家免检产品”、“中国市场产品质量用户满意品牌”、“安徽省高新技术产品”和“安徽名牌产品”等诸多荣誉,号称是业内仅此一家曾获得国家免检产品的品牌。

2021年3月,华伊美在上海松江车墩的智能新工厂正式投产,并计划用3-5年时间打造更多优质的国货精品和名品,成为符合上市标准的优秀企业。

据悉,华伊美松江车墩智能新工厂占地2万多平方,一期化妆品生产车间年产值可达30亿元,拥有中国化妆品企业净化级别10万级净化车间和万级净化质检室,严格按照药品GMP和IS9001双重国际质量标准生产,并获得GMPC 生产规范认证、ISO9001质量管理体系认证和ISO化妆品良好生产规范认证证书。工厂采用全自动化生产设备以提高生产工艺和产能,还建造了首屈一指的具备自身独特优势的中药提取车间,每年可提取中药原液达1500吨,同时新厂二期规划了消字号、械字号、冻干粉生产车间,可为中国美业和健康产业提供过独具特色、功效显著的中草药原液、原料及优质的功效产品代加工业务。

曾多次被行政处罚,被法院执行超1200万元

华伊美破产清算 3项专利1元起拍卖

华伊美破产清算 3项专利1元起拍卖

2023年12月1日,上海市药品监督管理局在调查涉嫌生产不符合规定的化妆品“显辰粉刺净精露”(批号CF2701)过程中,发现华伊美存有未依照规定设质量安全责任人以及无法提供化妆品销售记录等情况,对华伊美处罚4万元。

2021年8月26日,华伊美在其天猫平台“泽平化妆品旗舰店”上,为提高产品销售率,在“泽平痘印净精露10ml祛痘印修复痘坑淡化去痘疤膏凝胶消炎红肿男女”的产品广告页面使用“消炎”的宣传用语,被松江区市场监督管理局罚款10万元。

此外,华伊美还因虚假宣传“去痤疮”功效、宣传特殊化妆品具有的“去痘印”、“利用广告对商品质量”分别被上海市松江区市场监督管理局各罚款3万元。

华伊美破产清算 3项专利1元起拍卖

华伊美破产清算 3项专利1元起拍卖

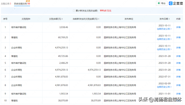
除了产品问题,华伊美还多次被公告欠税,最近的一次欠税超过500万元。

华伊美破产清算 3项专利1元起拍卖

华伊美破产清算 3项专利1元起拍卖

另外,华伊美先后被法院强制执行42次,执行总额超过1200万元。

没落的华伊美

华伊美破产清算 3项专利1元起拍卖

目前,泽平天猫旗舰店仅上架了大痘净精露,泽平相关的网站都停止运营了,泽平祛痘中心 官方微博只有2015年的4条微博,华伊美国妆一号官方微博已经清空。

值得说明的是,华伊美目前拍卖的专利、商标和软著并没有太大价值。

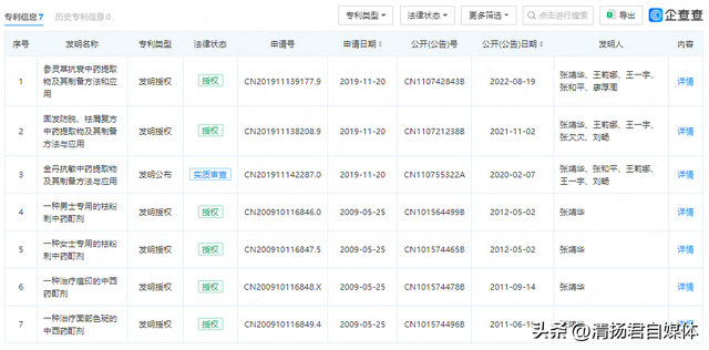
华伊美拍卖的专利是3个外观专利,这些专利主要是化妆品包装瓶,对于一年更新几次的化妆品行业来讲,含金量并不高。

华伊美破产清算 3项专利1元起拍卖

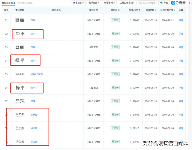
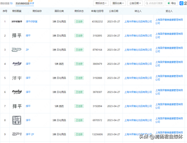
其次,华伊美目前的商标基本上都不知名,知名的泽平商标基本上都转让给上海国伊康美健康管理有限公司(以下简称“国伊康美”)。华伊美手中的泽平商标只有45类社会法律、39类运输贮藏和34类烟草烟具,而这三个类别的泽平商标基本上一文不值。

第三,软著的价值(华伊美葫芦造型男女孩吉祥物)和普通商标差不多,价值也不大,含金量并不高。

值得关注的是,泽平商标主要受让方国伊康美。

国伊康美目前的股东为持股99%的董桂华和持股1%的耿璐璐,在2023年9月14日之前,华伊美集团的股东张君杰持股99%,更早的2021年8月24日前,华伊美集团持股90%的大股东、华伊美法定代表人张靖华持股60%。

目前,国伊康美控股的上海嵘鑫汇中医药科技有限公司(国伊康美持股42%),监事为张君杰。

华伊美破产清算 3项专利1元起拍卖

华伊美破产清算 3项专利1元起拍卖

华伊美和国伊康美从表面上并无实质股权关系,但该公司不仅提前受让了泽平大部分商标,还注册了大量“华依美”、“华伊美”、“泽平”的商标,张靖华还申请了7个专利(其中1个审查中),这不由让人怀疑国伊康美和华伊美真正的关系,或者说国伊康美可能是华伊美未来的布局之一。

转载请注明来自极限财经,本文标题:《泽平粉刺立消净敏感型好吗?(华伊美破产清算 3项专利1元起拍卖)》

每一天,每一秒,你所做的决定都会改变你的人生!

发表评论

快捷回复:

评论列表 (暂无评论,6人围观)参与讨论

还没有评论,来说两句吧...